Apple blochează telefoanele mobile să înregistreze imagini în timpul concertelor
Apple a patentat o tehnologie care blochează telefoanele mobile să înregistreze imagini şi secvenţe video în timpul concertelor, potrivit consequenceofsound.net.
În ultimii ani, artiştii au încercat tot ce le-a stat în putere pentru a-i convinge pe spectatori să îşi lase de-o parte telefoanele mobile şi să privească show-urile de pe scenă.
De la rugăminţi pline de amabilitate, la începutul concertelor, până la distribuirea unor pungi care blochează dispozitivele mobile, totul a fost încercat, însă niciuna dintre acele soluţii nu a fost satisfătoare.
Unii dintre spectatori găsesc pur şi simplu întotdeauna o metodă pentru a realiza fotografii şi înregistrări video în timpul concertelor.
Apple a găsit o soluţie tehnologică care rezolvă acea problemă, indiferent dacă posesorii de telefoane mobile vor fi sau nu vor fi de acord cu ea.
Potrivit 9to5Mac şi Patently Apple, compania Apple a primit de curând aprobarea pentru un patent aferent unei tehnologii complicate care are capacitatea de a dezactiva, în anumite condiţii, camera foto şi video a telefoanelor mobile.
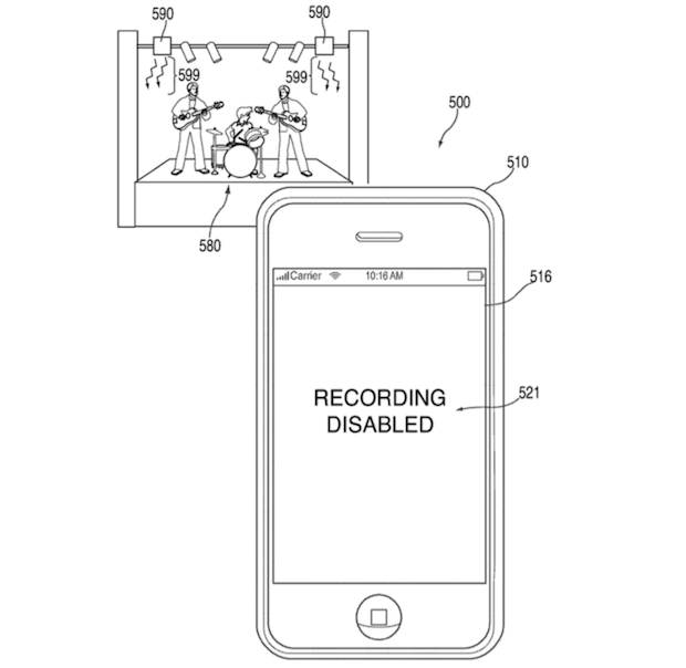
Un mic senzor plasat pe scenă sau în apropierea acesteia poate să capteze semnalele în infraroşu cu date codate, care, atunci când sunt preluate de un dispozitiv compatibil, au capacitatea de a dezactiva funcţia video a smartphone-urilor şi tabletelor.
În documentele depuse pentru obţinerea patentului există şi o schiţă care demonstrează modul în care noua tehnologie poate fi folosită pentru a preveni înregistrările nedorite din timpul concertelor.

Invenţia nu se adresează doar spectatorilor de la concerte, deoarece patentul poate fi folosit şi de firmele de securitate pentru a preveni, de exemplu, furturile bancare şi spionajul.
De asemenea, dispozitivul poate fi utilizat pentru a oferi informaţii suplimentare, în loc de a le şterge, în cazul plasării sale – împreună cu un transmiţător – lângă o anumită operă de artă dintr-un muzeu. Telefonul mobil poate să decodeze semnalul în infraroşu şi să ofere utilizatorului informaţia de care are nevoie.
Desigur, companiile depun cereri pentru patente şi primesc patente tot timpul, pentru diverse tehnologii, dar multe dintre acestea nu ajung niciodată să vadă lumina zilei.
În aprilie, compania Apple a primit o aprobare pentru a patenta o platformă online care cenzurează în mod automat anumite cântece pe iTunes şi iPhone. Deocamdată, compania americană nu dă semne că ar urma să implementeze acel sistem.
Sursă: News.ro






